Американский автопроизводитель подал заявку на патент. Ford регистрирует конструкцию быстросъёмных дверей. Хоть в описании к патенту и не было не раз упомянуто слово Bronco, эскиз внедорожника, на котором показывается конструкция дверей, очень похож на Bronco R, сообщает .
Еще в мае 2018 года, компания Ford подала заявку на патент, о котором пойдет речь в этой статье. Однако опубликована она была совсем недавно. Конечно, в этих документах к конструкции съемной двери нет ни единого упоминания слова Bronco. Однако эскиз этого конкретного внедорожника, на примере которого и показываются новые двери, очень сильно похож на внедорожник Bronco R, который был создан для участия в ралли.

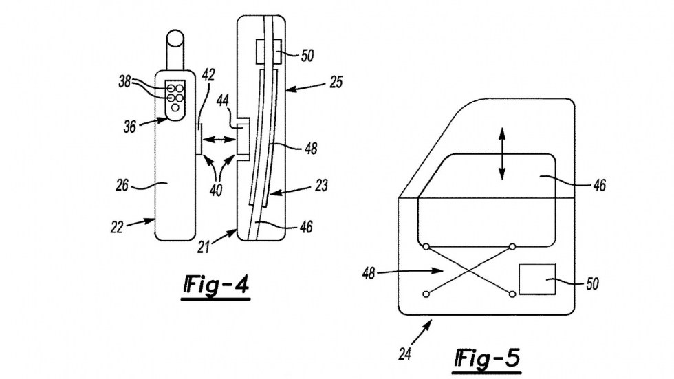
В описании к заявке на патент конкретно упоминается внешняя дверь, которая «прикреплена съемным способом к петлям с помощью по меньшей мере одного механизма быстрого соединения».
Не вдаваясь слишком глубоко в юридические патенты, кажется, этот дизайн включает в себя внутреннюю трубчатую дверь, которая содержит дверную ручку и электрические выключатели для электростеклоподъемников и замков. Наружная дверь крепится к внутренней трубчатой конструкции с помощью различных быстросъемных защелок, которые позволяют быстро снимать обшивку двери. Внутренняя часть конструкции прочно фиксируется на своем месте, обеспечивая некоторую степень защиты.

Будут ли эти двери предназначены для нового Bronco, еще неизвестно, но мы не будем удивлены, увидев что это действительно так. Официальная презентация внедорожника произойдет в следующем месяце.
