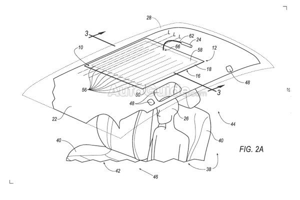
Ford запатентовала технологию подушки безопасности, которая поможет в случае переворота автомобиля. Как сообщает AutoGuide, подушку предполагается размещать на потолке, сообщает .
Конструкция по сути представляет собой «сэндвич» между обшивкой потолка и самой крышей, который надуется в случае переворота машины и образует дополнительный защитный слой для голов пассажиров, предотвращающий удар о жесткую поверхность.
В патенте указано, что такая подушка безопасности может быть интегрирована в уже выпущенные машины без необходимости серьезных изменений конструкции. Известно также, что заявление на регистрацию технологии было подано еще осенью 2016 года.
