Компания Ford подала заявку на патент на изящную функцию, которая может решить проблему владельцев пикапов — удержание вещей в грузовой платформе. Согласно документам, загруженным Ведомством по патентам и товарным знакам США (USPTO), патент, представленный автоприозводителем относился к «платформе пикапа с избирательно активируемыми магнитными секциями пола», сообщает .

Название патентной заявки в значительной степени объясняет о чем идет речь. Ford хочет намагнитить пол кузова грузовика. Как поясняется во всем 10-страничном документе, он будет использоваться для удержания груза или устройств крепления.

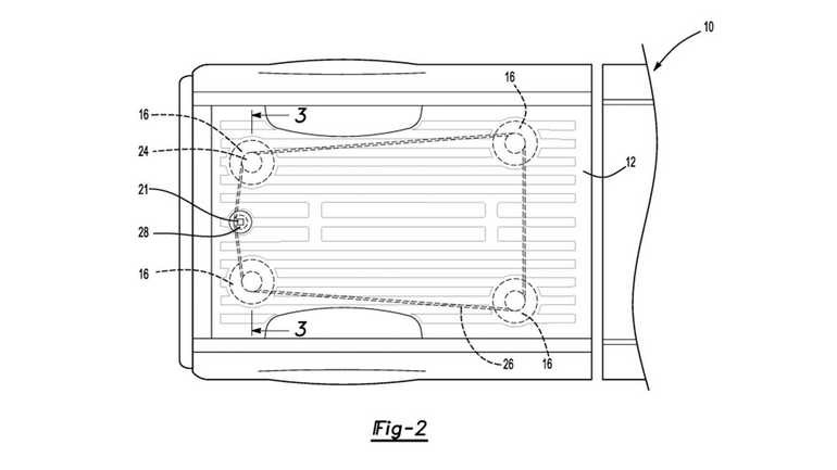
Следует отметить, что существует несколько решений послепродажного обслуживания для решения упомянутых проблем с грузом. Однако большинство из них предлагают магнитные ящики или другие внешние устройства вместо намагничивания самой платформы. Патент Ford включает до шести магнитных точек, которые можно включать и выключать с помощью элементов управления в салоне или через приложение на смартфоне.

Взаимодействие между электромагнитами для создания идеального решения для удержания груза было объяснено в патентных документах. Во второй части патент говорится, что магнитные крепления, вероятно, будут использоваться на внедорожниках и фургонах Ford.
Ранее автопроизводитель не рассматривал возможность использования магнитов для удержания груза, так как они не совсем совместимы с другими электронными и механическими элементами машины. Чтобы эта новая технология работала, Ford должен найти способ защитить другие части своих пикапов от магнитного поля.
Как всегда, патенты и заявки на товарные знаки не всегда попадают в производство. Однако они свидетельствуют о том, что эти автопроизводители постоянно работают, чтобы найти решения практических проблем.
