У Ford есть ожидаемый патент на новый дизайн крыши, который использует изогнутые балки для создания лобового стекла и заднего стекла, которые покрывают почти всю верхнюю часть. Подход приведет к созданию кабины с улучшенной видимостью наружу и увеличит количество естественного света в салоне, сообщает .
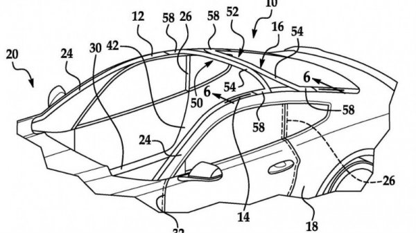
План Blue Oval состоит в том, чтобы использовать пару изогнутых балок, чтобы сформировать структуру вершины и соединить их со стандартными перилами крыши, которые создают вертикальные стойки. Как показывают изображения выше, этот макет создает сравнительно небольшую область, где нет стекла, и это место за передними сиденьями, чтобы у них был обширный внешний вид.
Основное беспокойство в связи с тем, что материала для основной конструкции крыши так мало, - это то, как она выдержит аварию, и патент Ford решает эту проблему. По словам компании, арочная форма помогает распределить силы при боковом ударе. Кроме того, автопроизводитель описывает использование «пальцев» из материала, который будет прикреплять секции крыши к областям, расположенным дальше вниз по столбам, и это закрепление сделает конструкцию более прочной.
Патент Ford описывает несколько способов построения конструкции крыши. Наиболее очевидный вариант - просто использовать отдельные части и как-то соединять их с вертикальными частями. Компания также может использовать аддитивное производство, чтобы сделать конструкцию цельной. Структура решетки для материала обеспечит дополнительное преимущество, заключающееся в экономии веса при сохранении прочности.
В то время как патент Ford показывает этот дизайн крыши на Mustang, компания утверждает, что она может работать для любого типа транспортного средства. Тем не менее, внешний вид очень хорошо подходит для Mustang.
Наличие расширенного ветрового стекла не новая идея, и вы можете увидеть элементы этого дизайна на автомобилях, таких как Tesla Model X, Opel Astra GTC и Citro?n C4 Picasso. Патент Ford дополняет этот стиль, распространяя его и на заднее стекло.
