Машины с «автопилотом» не дают покоя многим автомобильным и IT-компаниям. Плюсы и минусы таких транспортных средств давно для всех очевидны. И вот мы поднимаемся на новую ступеньку: компания Google получила патент на разработку автономных автомобилей, сообщает .
Патент США №8 078 349 описывает «транспортное средство, которое может переключаться от управления человеком-водителем в автономный режим». Но до того дня, когда на улицах будет полно самостоятельно передвигающихся автомобилей, пока еще далеко. Компаниям необходимо проделать огромную работу, прежде чем водитель сможет нажать на клавишу и спокойно заснуть за рулем. Хотя в будущем подобное будет возможно. В Google считают, что это будущее уже не так далеко, как кажется.
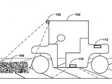
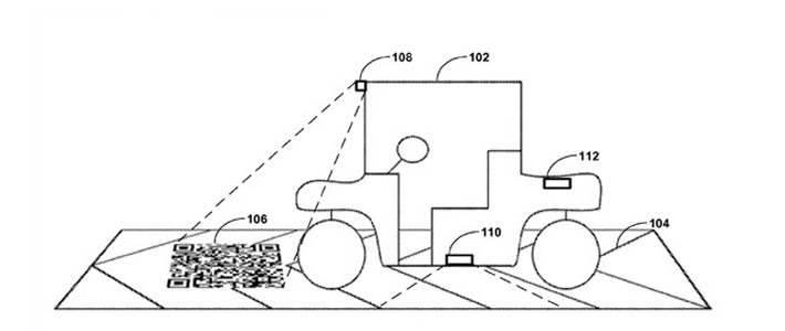
Водителю будет необходимо дать точные координаты пункта назначения, чтобы автомобиль смог составить оптимальный маршрут. Также дороги, по которым будут передвигаться автономные машины, должны быть оборудованы специальными индикаторами (в американских СМИ уже даже шутят насчет QR-кодов на дороге).
